产品概述
该冰柜铰链主要解决冰柜门在关闭时容易瞬间闭合、容易夹手。
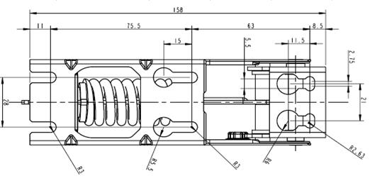
最大开门角度100度,最小停止角度30度,寿命开合测试5万次无异响,10万次无失效。
所有材料均符合欧盟环保标准。
盐雾测试48-96小时。

技术参数
| 编号 | 材料 | 弹簧直径 | 外径(mm) | 圈数 | 长度(mm) | 重量(KG) | 装箱数(只) |
| 4619 503 1836 | 镀锌板DX51Z | 无 | 无 | 无 | 无 | 0.22 | 28 |
| Galvanized sheet | |||||||
| 4619 503 1837 | 镀锌板DX51Z | 无 | 无 | 无 | 无 | 0.22 | 28 |
| Galvanized sheet | |||||||
| 4619 503 1838 | 镀锌板DX51Z | 3.8 | 24.8 | 8.5 | 55 | 0.33 | 28 |
| Galvanized sheet | |||||||
| 4619 503 1839 | 镀锌板DX51Z | 4.0 | 25.4 | 8.5 | 55 | 0.34 | 28 |
| Galvanized sheet | |||||||
| 4619 503 1840 | 镀锌板DX51Z | 4.3 | 26.1 | 7.5 | 54 | 0.35 | 28 |
| Galvanized sheet | |||||||
| 4619 503 1841 | 镀锌板DX51Z | 4.3 | 26.1 | 7.5 | 54 | 0.35 | 28 |
| Galvanized sheet | |||||||
| 4619 503 1842 | 镀锌板DX51Z | 4.6 | 26.7 | 9.5 | 71 | 0.36 | 28 |
| Galvanized sheet |

